時間:2024-09-09 08:02:40 點擊數:
導讀
針對多繩摩擦式提升機在運行過程中容易出現過卷、過放工況,造成鋼絲繩應力瞬間集中引起斷裂等問題,應用了一種應對特殊工況的防過卷保護裝置,并以 6×36WS+IWRC 鋼絲繩為研究對象,采用有限元分析法建立了鋼絲繩仿真模型并進行數值模擬。仿真結果表明:鋼絲繩股內的應力分布不均勻;鋼絲繩截面呈現出層狀分布;繩股內側為壓,外側為拉;對于同向捻鋼絲繩,股內變形大于右交互捻鋼絲繩;應力集中的部位發生在鋼絲繩的彎曲位置點;鋼絲繩的外層絲等效應力呈現出等幅波動。
隨著礦山開采量和開采強度的不斷增 大,井下機電設備的穩定運行對于保證產量和企業的效益至關重要。多繩摩擦式提升系統是井下常用的機電液一體化裝備,主要由驅動裝置、制動裝置、多根鋼絲繩及天輪等部分組成,是礦山領域的關鍵機電設備。鋼絲繩是整個提升系統的承載構件,用于提升和下放罐籠并且承受載荷作用。在運行過程中,摩擦式提升機容易出現過卷故障,此時鋼絲繩的受力比較復雜,容易造成鋼絲繩內部斷絲或突然斷裂,引起煤礦提升事故。
為了保證提升系統的穩定運行,國內很多學者研究了提升機防過卷保護裝置。賈福音等人通過對摩擦式提升機結構特點進行分析,設計了一種保護裝置對提升過程的制動進行緩沖,減少了鋼絲繩受到的沖擊力;但是,摩擦式提升機的過卷裝置受外部的影響較大,沒有分析鋼絲繩的內部應力變化特性,無法得出鋼絲繩在受到作用力時的應力分布規律。本研究基于礦井摩擦式提升機結構組成,應用了一種應對特殊工況的防過卷保護裝置,利用有限元分析軟件 Pro/Engineer 建立了鋼絲繩仿真模型,仿真鋼絲繩內部應力,并得到了應力分布規律。
1 摩擦式提升機和過卷保護裝置
1.1 多繩摩擦式提升機
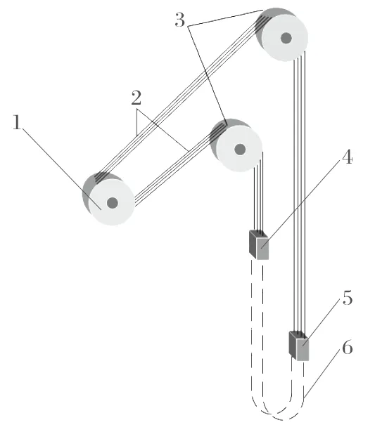
礦井多繩摩擦式提升機是我國礦井領域zui常用的提升裝備,主要用于提升人員、設備和物料。該提升系統主要由驅動裝置、多根鋼絲繩、上下天輪及罐籠等部分組成,其結構如圖1 所示。其中,驅動裝置由電動機、減速機和聯軸器等部分組成,可將電能轉變為機械能,實現對罐籠的提升和下放;上下天輪用于對鋼絲繩進行改向。提升鋼絲繩在天輪位置會出現彎曲變形,鋼絲繩的應力會出現突變。


鑿井懸吊天輪是按JZ系列鑿井絞車鋼絲繩最大靜張力分別為5t(50kN),10t(100kN),16t(160kN),25t(250kN),40t(400kN)進行配套設計的。
懸吊天輪又按鑿井絞車的性能分為單槽天輪